//百度统计代码
拼着买才便宜?拼多多申请注册“拼夕夕”商标防“山寨”?!
宁海商标 2020-08-21
“拼多多,拼多多,拼的多,省得多!”
伴随着拼多多这首魔性神曲洗脑,2015年成立的拼多多用两年多的时间狂揽三亿用户,成功让歌中所唱的“不管有事没事拼多多”照进了现实。
如今,拼多多俨然已成为电商新贵,其活跃用户排名综合商城类第二,仅次于淘宝。但就当朋友圈、微信群被拼多多强势“占领”之后,另一种声音也开始出现。在质疑者的认知中,一分价钱一分货,拼多多一时被人戏称“拼夕夕”。
近日,#拼多多关联公司申请拼夕夕商标# 话题上了热搜。

众所周知,拼夕夕是网友们给拼多多起的黑称,由于拼多多上很多低价商品存在尺码、质量和图片不相符的情况,就有了拼夕夕这个梗,有货不对板的意思。
本月初,拼多多关联公司上海寻梦信息技术有限公司提交了一件“拼夕夕”商标申请,注册在第33类-酒相关类别,目前处于商标申请收文状态。

事实上,这并不是上海寻梦公司第一次注册“拼夕夕”商标。
早在2018年8月,上海寻梦公司就曾申请了4件“拼夕夕”商标,其中2件已经注册成功。

“拼夕夕”商标十分抢手,除了上海寻梦公司之外,还有多家公司和个人申请注册。
根据商标局官网数据,自2018年7月31日起,开始有人申请“拼夕夕”商标,截至今年7月14日,共检索到36件商标。

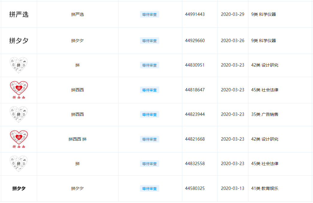
其中,上海实踏信息科技有限公司表现“突出”,提交了多件“拼夕夕”商标,目前都尚处于等待实质审查状态。
据查,该公司名下还有一款名为拼西西的社交电商平台,申请了“拼西西”、“拼严选”及相关图片商标。

图形及文字商标与拼多多名下商标近似,小编推测这些商标大概率无法成功注册。
拼多多为了保护品牌,把网友给的黑称也进行了商标保护,也是下了血本了。
这种“自黑”式商标布局,其他互联网公司也干过,比如腾讯注册了“鹅厂”商标、网易注册了“猪厂”商标。
宁海商标知产顾问认为,对于知名企业而言,一些常用的江湖别称往往与品牌之间产生了紧密联系,具有较高的知名度和影响力。如果不早日进行商标注册,很容易被他人钻了空子。先下手为强,进行商标防御性布局,可以有效避免遭到恶意抢注,避免出现为了拿回商标而损失大量经济的行为,从而进一步维护公司的利益。
【温馨提示】文中部分图文来源网络,版权归属原作者,若有不妥,请联系告知修改或删除,谢谢。

0
上一篇:这个商标仅4个字!竟让阿里、腾讯、百度、京东联手异议!
下一篇:美国澳大利亚专利商标10月又要涨价?想注册的,赶紧上车!
关于我们
联系我们
电脑版
© 江苏省宁海商标事务所 苏ICP备09067287号-1
全部评论(0)