//百度统计代码
京天红启动品牌“维权战”,企业商标保护存在哪些难点?
宁海商标 2019-07-11
京天红创始人韩美俊没想到,自己一手打造的北京地标性小吃“京天红炸糕”,竟成了“别人的”品牌——京天红包括“炸糕”在内的30类商标,已经被他人注册,同时被注册的还有32类、35类等国际分类。
7月9日,京天红在京召开品牌维权媒体见面会,创始人韩美俊表示,将以法律武器维护“京天红”品牌的合法权益。
京天红在南城虎坊桥从1991年经营到2019年,京天红炸糕有大批粉丝,被称为“南城炸糕一绝”,今年1月份,京天红虎坊桥店因房租到期闭店,现在搬到了虎坊桥清华池一楼继续经营。
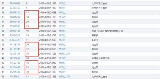
今年6月份,京天红自营的马家堡店,和与凤起龙游品牌合作的苏州街店,被一位刘先生告上了法庭,刘先生宣称其拥有京天红商标专用权,而上述两家店,在未经自己授权允许情况下,擅自在其店面装饰、门头以及产品销售中使用京天红字样,已经涉嫌侵权。在对凤起龙游的起诉中,刘先生单方面索赔20万元,目前该案件还在审理当中。 韩美俊介绍,实际上在2009年10月,北京京天红食府就委托商标代理公司申请注册,注册了“京天红 JTH”第43类商标,包含【备办宴席;饭店;住所(旅馆、供膳寄宿处);自助餐馆等】的商标。“当时注册商标成本较高,注册一类就花了3000多元,加之我们对知识产权及商标保护的意识较弱,代理公司告诉我们,注册43类就够了,所以我们也没有对其他类别进行保护性注册。”韩美俊说。
目前“京天红”很多商标已被注册
2018年底,韩美俊发现有人抢注了“京天红”商标。从中国商标网查询了解到,刘某在2012年7月开始密集抢注“京天红”35 类、30 类以及 32 类等国际分类。
京天红随即开始维权,一方面在今年4月密集提交了19个有关“京天红”的商标注册申请,避免被人恶意抢注;另一方面组织律师团队,向商评委提出对被抢注的商标进行无效宣告及撤销申请。从2018年,京天红针对他人在餐饮食品关联产品服务上申请或注册的“京天红”相同及近似商标,全面提起异议:2019年1月29日,京天红对30类商标提起无效宣告申请,已经受理;2018年11月30日,分别对 30/32/35 类商标提出撤销三年不使用申请,尚在受理过程中。
目前,30类、35类、32类京天红商标均处于撤销/无效宣告申请审查中。记者了解到,市面上已经出现了4家以“京天红”炸糕或“虎坊桥京天红炸糕”为名的“山寨店”。京天红团队表示,下一步京天红将交于律师团队,对这些山寨店以商标侵权和不正当竞争为由,提起侵权诉讼。

目前,30类、35类、32类京天红商标均处于撤销/无效宣告申请审查中。
商标注册有45个大类,只有驰名商标,才有跨类别的保护。对于企业来说,商标保护到底存在哪些难点?
1、首先是时间成本。商标维权案件的撤销审查周期都在一年左右,审查完成有了结论以后,还有后续的商标行政诉讼,一审、二审,这个周期企业等不起。
2、对企业来讲,违权的成本高,而侵权的成本相对比较低;尤其是像加盟店,在维权过程中,对每一家店我们都需要进行证据保全,工作量和费用成本是比较高的。而且像京天红这种主营的知名产品被对方抢注的情况下,法院在审查过程中,也有一些不同的意见和观点。
最后,小编也提醒大家,企业要重视商标保护,在注册商标时,最好把相关大类都申请,以免出现被人恶意注册的情形。

0
关于我们
联系我们
电脑版
© 江苏省宁海商标事务所 苏ICP备09067287号-1
全部评论(0)