//百度统计代码
【商标注册】吴亦凡说火了“skr”!商标申请谁手快?
宁海商标 2018-08-07
今年的《中国新说唱》刚播出不久,就被网友发现节目组想走freestyle的老路子,挺进年度热词榜,几乎每个制作人都有了一句属于自己的口头禅,自从爱奇艺的《中国新说唱》播出后,吴亦凡又带火了网络词“skr”。于是,莫名其妙地,周边人跟洗了脑一样,“skr!skr!skr”!大家都来说“skr”,真是火得无法无天!
笑skr人!热skr人!晒skr人!
我跟你skr到底,skr明明白白!
大家都中毒了吗?能不能好好说话!
一波未平一波又起,这词儿火得真的是好“skr”!

“skr”到底是什么意思?
尽管大家都鹦鹉学舌,但很多人都不知道“skr”真正的意思:“skr”本意是拟声词,是rapper模仿汽车在高速漂移或急转弯时橡胶轮胎与地面摩擦的声音。不过,在吴亦凡这里变成了中文里的“赞”的意思,很多懂嘻哈的人表示这词儿又被吴亦凡乱用了。
于是一时之间,全民开始说“skr”!不是造句就是制作表情包,犹如洗脑一般朗朗上口。
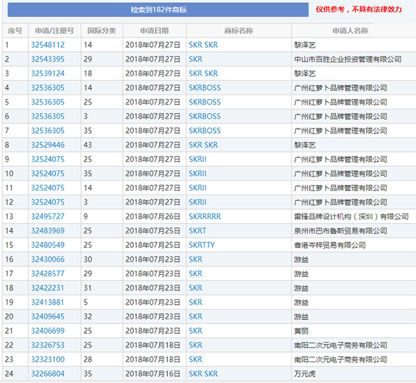
“skr”成热词,商标肯定也跟着热闹!
众所周知,每年网络热词IP一直都是商标抢注的热点。这不!一经查询就发现,“skr”商标的注册申请真的是清一色的多!!就问你溜不溜?

但抢注“skr”商标未必能成功。
第一,纯英文商标注册不管是从名称还是从图案来看都太过于单一,尤其“skr”还是 “纯三个英文字母商标”,肯定是商标近似的重灾区!
商标局在审查时,不仅会审查该商标的近似英文商标,还会审查该英文商标的中文含义,审查其是否和已注册的中文商标构成近似。因此有些字母商标因为其具体含义与已注册或申请在先的中文商标相同而被驳回。
第二,如果同一种或类似商品中已经有“skr”商标,那你说,如果我把“skr”进行变形再加工呢?除非你设计出来的“skr”商标读音不叫“skr”,否则仅从视觉上行了一定的艺术变形,还是会被判为近似商标。
在以“注册在先”为原则的国家中:只要不是“有害于社会主义道德风尚或者有其他不良影响”的网络IP热词,谁申请注册日期早,这词儿就归谁。注册一个商标花费上千元,转手卖出利润可以翻好几番,这种商机真的求之不得!就看谁手快。
0
下一篇:【著作权】网剧《白夜追凶》引发著作权纠纷 《白夜追凶2》是否要凉?
关于我们
联系我们
电脑版
© 江苏省宁海商标事务所 苏ICP备09067287号-1
全部评论(0)